Приказ Инспекции государственной охраны объектов культурного наследия Оренбургской области от 22.01.2024 № 01-08-31
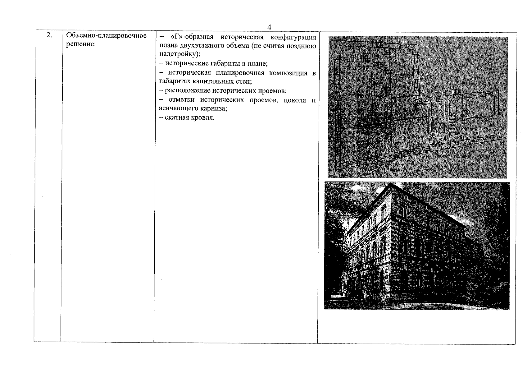
"О включении выявленного объекта культурного наследия в единый государственный реестр объектов культурного наследия (памятников истории и культуры) народов Российской Федерации в качестве объекта культурного наследия регионального значения (вид – памятник) с наименованием "Дом жилой городской усадьбы Афанасьевых (Габайдуллиных)", 1878 г.; 1900 г., (Оренбургская обл., г. Оренбург, ул. Постникова, 28 /проезд Коммунаров, 59, Литеры АА1), об утверждении предмета охраны, границ и режима использования территории объекта культурного наследия"
(Зарегистрирован 23.01.2024 № 0024/2024/22)
"О включении выявленного объекта культурного наследия в единый государственный реестр объектов культурного наследия (памятников истории и культуры) народов Российской Федерации в качестве объекта культурного наследия регионального значения (вид – памятник) с наименованием "Дом жилой городской усадьбы Афанасьевых (Габайдуллиных)", 1878 г.; 1900 г., (Оренбургская обл., г. Оренбург, ул. Постникова, 28 /проезд Коммунаров, 59, Литеры АА1), об утверждении предмета охраны, границ и режима использования территории объекта культурного наследия"
(Зарегистрирован 23.01.2024 № 0024/2024/22)
Номер опубликования: 5601202401240008
Дата опубликования:
24.01.2024
