Официальное опубликование правовых актов
ОФИЦИАЛЬНОЕ ОПУБЛИКОВАНИЕ
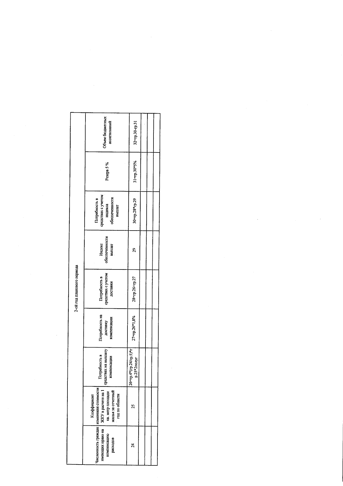
Приказ Министерства финансов и бюджетного контроля Курской области от 11.08.2023 № 97н
"Об утверждении Порядка планирования бюджетных ассигнований областного бюджета на очередной финансовый год и на плановый период"
(Зарегистрирован 11.08.2023 № 800.23.09)
Номер опубликования: 4601202308150012
Дата опубликования: 15.08.2023
Страница №83 из 185:
Увеличить