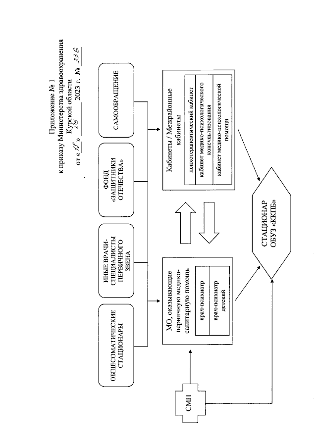
Приказ Министерства здравоохранения Курской области от 18.05.2023 № 336
"О совершенствовании организации оказания медицинской помощи при психиатрических расстройствах и расстройствах поведения на территории Курской области"
(Зарегистрирован 22.05.2023 № 546.23.02)
"О совершенствовании организации оказания медицинской помощи при психиатрических расстройствах и расстройствах поведения на территории Курской области"
(Зарегистрирован 22.05.2023 № 546.23.02)
Номер опубликования: 4601202305260002
Дата опубликования:
26.05.2023
