Официальное опубликование правовых актов
ОФИЦИАЛЬНОЕ ОПУБЛИКОВАНИЕ
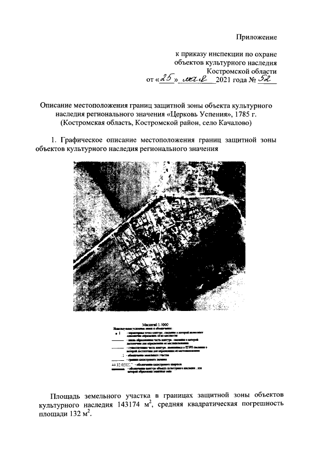
Приказ Инспекции по охране объектов культурного наследия Костромской области от 25.05.2021 № 52
"Об утверждении графического описания местоположения границ защитной зоны объекта культурного наследия регионального значения "Успенская церковь", 1785 г. (Костромская область, Костромской район, село Качалово) с перечнем координат характерных точек этих границ в системе координат, установленной для ведения Единого государственного реестра недвижимости, режима использования земель в границах защитной зоны объектов культурного наследия"
Номер опубликования: 4401202105280002
Дата опубликования: 28.05.2021
Страница №3 из 5:
Увеличить