Официальное опубликование правовых актов
ОФИЦИАЛЬНОЕ ОПУБЛИКОВАНИЕ
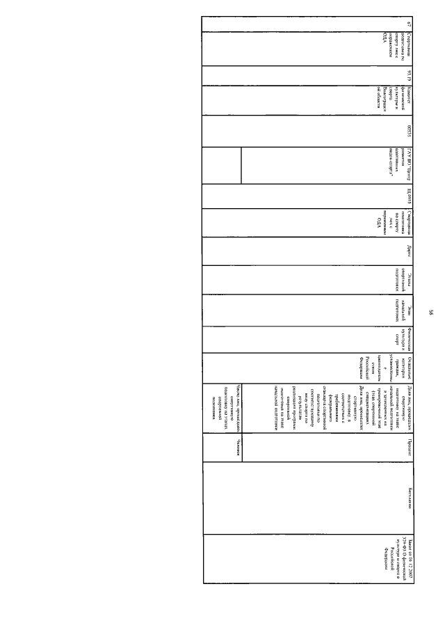
Приказ комитета физической культуры и спорта Волгоградской области от 31.08.2017 № 559
"О внесении изменений в приказ комитета физической культуры и спорта Волгоградской области от 01 декабря 2015 г. № 1059 "Об утверждении ведомственного перечня государственных услуг и работ, оказываемых и выполняемых в качестве основных видов деятельности государственными учреждениями, подведомственными комитету физической культуры и спорта Волгоградской области"
Номер опубликования: 3401201709080017
Дата опубликования: 08.09.2017
Страница №57 из 133:
Увеличить