Официальное опубликование правовых актов
ОФИЦИАЛЬНОЕ ОПУБЛИКОВАНИЕ
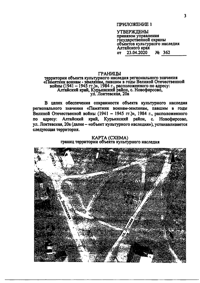
Приказ Управления государственной охраны объектов культурного наследия Алтайского края от 23.04.2020 № 362
"Об утверждении границ территории и режима использования территории объекта культурного наследия регионального значения "Памятник воинам-землякам, павшим в годы Великой Отечественной войны (1941 – 1945 гг.)", 1984 г., расположенного по адресу: Алтайский край, Курьинский район, с. Новофирсово, ул. Локтевская, 20а"
Номер опубликования: 2201202004240005
Дата опубликования: 24.04.2020
Страница №3 из 6:
Увеличить