Официальное опубликование правовых актов
ОФИЦИАЛЬНОЕ ОПУБЛИКОВАНИЕ
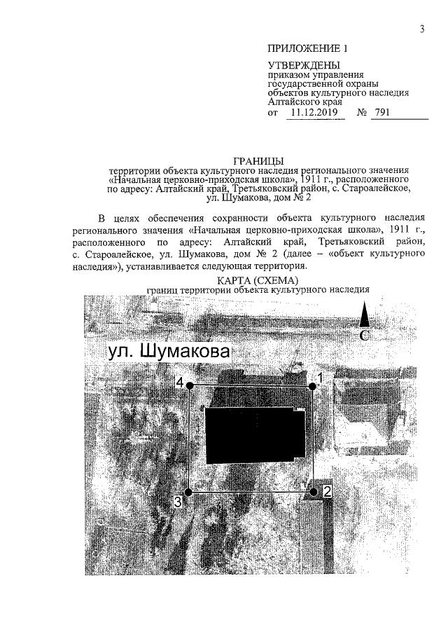
Приказ Управления государственной охраны объектов культурного наследия Алтайского края от 11.12.2019 № 791
"Об утверждении границ территории и режима использования территории объекта культурного наследия регионального значения "Начальная церковно-приходская школа", 1911 г., расположенного по адресу: Алтайский край, Третьяковский район, с. Староалейское, ул. Шумакова, дом № 2"
Номер опубликования: 2201201912170035
Дата опубликования: 17.12.2019
Страница №3 из 6:
Увеличить