Официальное опубликование правовых актов
ОФИЦИАЛЬНОЕ ОПУБЛИКОВАНИЕ
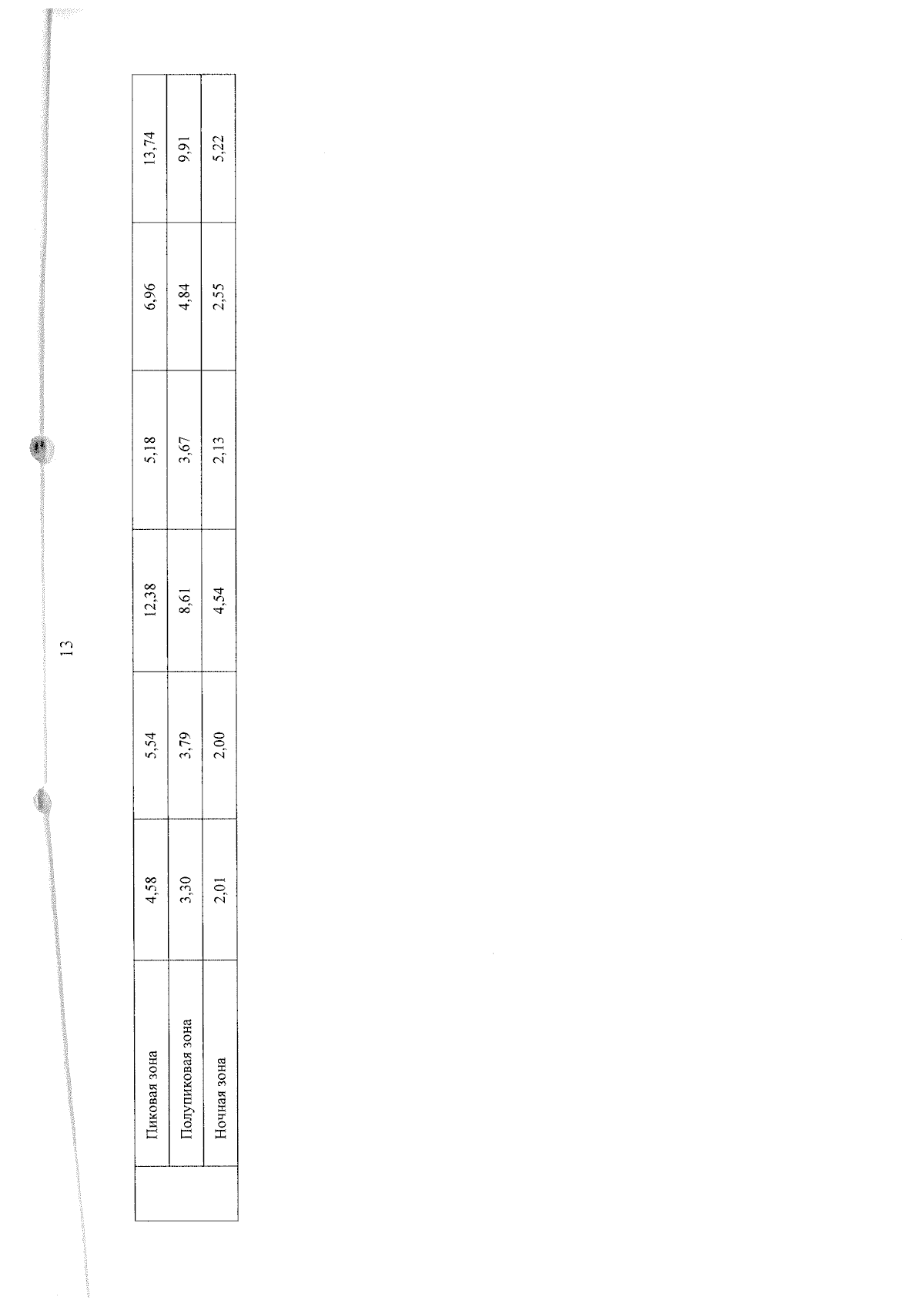
Приказ Государственного комитета тарифного регулирования Республики Хакасия от 29.12.2025 № 7-э
"Об установлении цен (тарифов) на электрическую энергию для населения и приравненным к нему категориям потребителей по Республике Хакасия на 2026 год"
(Зарегистрирован 29.12.2025 № 634)
Номер опубликования: 1901202512300001
Дата опубликования: 30.12.2025
Страница №13 из 27:
Увеличить