Официальное опубликование правовых актов
ОФИЦИАЛЬНОЕ ОПУБЛИКОВАНИЕ
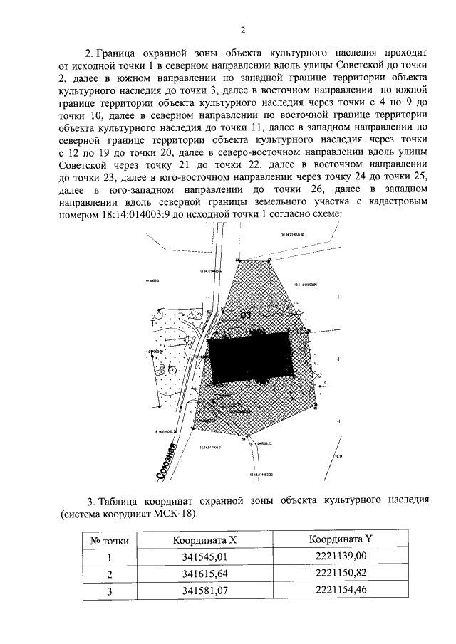
Постановление Правительства Удмуртской Республики от 08.12.2022 № 690
"Об установлении зон охраны объекта культурного наследия регионального значения "Церковь Спаса (Свято-Никольский храм), 1820 г., архитекторы Дудин С.Е., Анисимов П.А." и утверждении требований к градостроительным регламентам в границах территорий данных зон"
Номер опубликования: 1800202212120010
Дата опубликования: 12.12.2022
Страница №4 из 16:
Увеличить