Официальное опубликование правовых актов
ОФИЦИАЛЬНОЕ ОПУБЛИКОВАНИЕ
Постановление Правительства Российской Федерации от 26.12.2013 № 1296
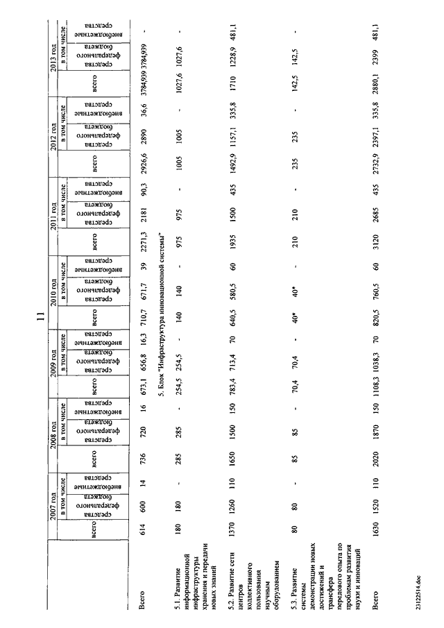
"О внесении изменений в федеральную целевую программу "Исследования и разработки по приоритетным направлениям развития научно-технологического комплекса России на 2007-2013 годы"
Номер опубликования: 0001201401040033
Дата опубликования: 04.01.2014
Страница №12 из 38:
Увеличить